CALL SA TRAILER & CHASSIS EQUIPMENT TODAY: (08) 8262 7170
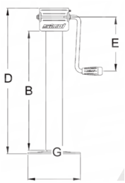
Outer Tube mm2
Weight KG
Load Capacity KG
B
D
E
G
80 SQ
13.4
4000
500
620
225
220
For more information on this product